
所属分类:输送带
专利名称:可开合式大倾角输送带
专利号:ZL202121333723.5

专利介绍:
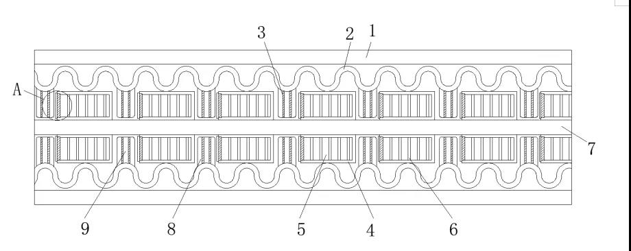
本专利属于好色先生黄色视频TV技术领域,可开合式大倾角输送带,包括基带,所述基带的顶部两侧均安装有挡边,所述基带的顶部相邻挡边的一侧设置有横隔板,所述基带的顶部相邻横隔板的一侧设置有弹性胶,所述横隔板的顶部设置有连接槽,所述连接槽的顶部安装有凸块,所述基带的内部开设有限位槽,所述限位槽的一侧内部安装有转轴,所述转轴的表面安装有顶板,本实用新型设置了横隔板与弹性胶,横隔板在基带上分开安装,同时在安装输送带的时候,通过基带中的弹性胶保证基带两侧的横隔板能够被有效的开合,这样能够方便输送带沿着弹性胶进行开合,从而降低输送带的整体大小,使得输送带能够有效的安装进设备中。
设置了横隔板与弹性胶,横隔板在基带上分开安装,同时在安装输送带的时候,通过基带中的弹性胶保证基带两侧的横隔板能够被有效的开合,这样能够方便输送带沿着弹性胶进行开合,从而降低输送带的整体大小,使得输送带能够有效的安装进设备中。
设置了限位槽与顶板,通过限位槽中的限位柱将顶板顶出,同时物料通过顶板顶部的斜块方便将物料卸下,完成卸料后,顶板通过限位槽中的弹簧使得顶板复回原位,这样能够使得输送带在运输的时候有效的将物料卸下,从而防止物料出现堆积。
普通产品的缺点
大倾角输送带在安装的时候由于自身大小的原因,导致输送带不能顺利的安装进输送设备中,并且现有的大倾角输送带在运输的时候不能保证物料被有效的卸下,从而容易造成物料堆积,影响输送效率。
实际应用
产品使用情况:
产品在陕西某大型化工厂使用效果良好,客户评价我公司提供的产品使用寿命更长,稳定性更好,节约了成本,提高了生产效率。
应用范围:
大倾角输送带能使各种散装物料以0-90度做任意倾角连续输送,具有输送倾角大、使用范围广、无转运点、维护费用低、输送量大等特点,被广泛用于港口、冶金、电力、化工等领域物料输送。
扫一扫咨询微信客服